TBM dizalica TBM dizalica TBM dizalica TBM dizalica TBM dizalica TBM dizalica TBM dizalica TBM dizalica TBM dizalica TBM dizalica TBM dizalica TBM dizalica TBM dizalica

Mobilna dizalica

Dom / Proizvodi / Sustav lake dizalice / Mobilna dizalica

Mobilna dizalica

Proizvodi

Prednosti mobilnih portala su njihova pokretljivost u svim smjerovima, brzo rastavljanje i montaža te minimalan otisak, što im omogućuje premještanje na drugo mjesto pomoću kombija. Njihova podesiva širina i visina, zajedno s dobro dizajniranim čeličnim okvirom, mogu izdržati opterećenja u rasponu od 100 do 5000 kg. Posebno su prikladni za ugradnju, rukovanje i puštanje u rad radioničke opreme, utovar i istovar tereta iz vozila i podizanje velikih dijelova motora u automehaničarskim radionicama.

Postoje dvije glavne vrste malih podiznih portala: jedan je potpuno mobilni portal s kočenim nosivim kotačima, pogodan za podizanje s razine tla. Drugi je fiksni portal montiran na tračnice na podu ili gredi, koji koristi električnu ili ručnu dizalicu za mehanizirano podizanje. Time se smanjuje radna snaga, snižavaju proizvodni i operativni troškovi te poboljšava radna učinkovitost. Naša tvrtka može prilagoditi proizvode na temelju zahtjeva kupca. Mobilne portalne dizalice mogu biti opremljene ručnom lančanom dizalicom ili električnom lančanom dizalicom, nudeći visoku praktičnost i dokazanu tehnologiju, što ih čini vrlo popularnim kod proizvođača.

  • Specifikacija
  • O TBM-u
  • Kontaktirajte nas

Model Dizanje utega Dimenzije (mm) Deadweight
kG A B C D F G H J K L (kG)
SRGS20 500 2000 2080 1100-1500 (prikaz, stručni). (prikaz, stručni). (prikaz, stručni). 1544-2044 (prikaz, ostalo). 1876-2376 (prikaz, stručni). 1158 2001-2501 2080 420 440 39
SRGS23 400 2300 2380 1200-1800 (prikaz, stručni). (prikaz, stručni). (prikaz, stručni). 2380 40
SRGS40 250 4000 4080 2700-3500 4080 46
SRGM20 400 2000 2080 1100-1500 (prikaz, stručni). (prikaz, stručni). (prikaz, stručni). 1548-2148 (prikaz, ostalo). 1880-2480 (prikaz, stručni). 1215 2005-2605 2080 40
SRGM23 400 2300 2380 1200-1800 (prikaz, stručni). (prikaz, stručni). (prikaz, stručni). 2380 41
SRGM40 250 4000 4080 2700-3500 4080 47
SRGT20 250 2000 2080 1100-1500 (prikaz, stručni). (prikaz, stručni). (prikaz, stručni). 2022-2922 2354-3254 1586 2479-3379 2645 44
SRGT23 250 2300 2380 1200-1800 (prikaz, stručni). (prikaz, stručni). (prikaz, stručni). 2380 45
SRGT40 250 4000 4080 2700-3500 4080 50
SRG1S20 1000 2000 2080 1102-1502 (prikaz, ostalo). (prikaz, ostalo). (prikaz, ostalo). 1490-1990 (prikaz, stručni). 1822-2322 (prikaz, stručni). 1242 1904-2404 (prikaz, stručni). 2077 464 536 61
SRG1S30 1000 3000 3080 1902-2502 (prikaz, stručni). (prikaz, stručni). (prikaz, stručni). 3077 67
SRG1S40 500 4000 4080 1902-3502 (prikaz, stručni). (prikaz, stručni). (prikaz, stručni). 4077 73
SRG1M20 1000 2000 2080 1102-1502 (prikaz, ostalo). (prikaz, ostalo). (prikaz, ostalo). 1728-2428 (prikaz, stručni). 2061-2761 1440 2143-2843 2200 65
SRG1M30 1000 3000 3080 1902-2502 (prikaz, stručni). (prikaz, stručni). (prikaz, stručni). 3077 71
SRG1M40 500 4000 4080 1902-3502 (prikaz, stručni). (prikaz, stručni). (prikaz, stručni). 4077 77
SRG1T20 1000 2000 2080 1102-1502 (prikaz, ostalo). (prikaz, ostalo). (prikaz, ostalo). 1969-2869 2301-3201 1639 2383-3283 2830 70
SRG1T30 1000 3000 3080 1902-2502 (prikaz, stručni). (prikaz, stručni). (prikaz, stručni). 3077 76
SRG1T40 500 4000 4080 1902-3502 (prikaz, stručni). (prikaz, stručni). (prikaz, stručni). 4077

82

Kapacitet dizanja Model Dimenzije (mm) Težina (kg)
Potporni nosači*2 Glavna greda*A
Specifikacije kotača
Visina kuke D Povećanje visine E Najveća visina gornje grede F Ukupna visina H Širina G
2000
(A=3920)
S 1495-2245 (prikaz, ostalo). 5x150 2600 1931-2681 (prikaz, stručni). 1212 68*2 9,2*A 6 inča
M 2117-2867 5x150 3222 2553-3303 1429 75*2 9,2*A 6 inča
ja 2232-3232 5x200 3587 2668-3668 1726 84*2 9,2*A 6 inča
T 2747-3947 6x200 4301 3183-4383 1993 93*2 9,2*A 6 inča
H 3195-4395 6x200 4847 3730-4930 2234 98*2 9,2*A 6 inča
L 3585-4785 6x200 5347 4230-5430 2557 105*2 9,2*A 6 inča
K 3686-5286 8x200 5848 4330-5930 2733 111*2 9,2*A 6 inča
B 3869-5669 9x200 6149 4431-6231 2733 115*2 9,2*A 6 inča
3000
(A=3920)
5 1545-2295 (prikaz, ostalo). 5x150 2698 2029-2779 1212 71*2 11*A 8 inča
M 2167-2917 5x150 3320 2651-3401 1429 78*2 11*A 8 inča
ja 2282-3282 5x200 3685 2766-3766 1726 87*2 11*A 8 inča
T 2797-3997 6x200 4399 3281-4481 1993 95*2 11*A 8 inča
H 3245-4445 6x200 4847 3730-4930 2234 101*2 11*A 8 inča
L 3745-4945 6x200 5347 4230-5430 2557 107*2 11*A 8 inča
K 3846-5446 8x200 5848 4330-5930 2733 113*2 11*A 8 inča
B 4029-5829 9x200 6231 4513-6313 2733 119*2 11*A 8 inča
5000
(A=3920)
ja 2143-3143 (prikaz, ostalo). 5x200 3592 2717-3717 1736 108*2 15*A 8 inča
T 2838-4038 6x200 4487 3412-4612 2059 120*2 15*A 12 inča
H 3289-4489 6x200 4938 3862-5060 2234 125*2 15*A 12 inča
L 3789-4989 6x200 5438 4362-5562 2557 131*2 15*A 12 inča

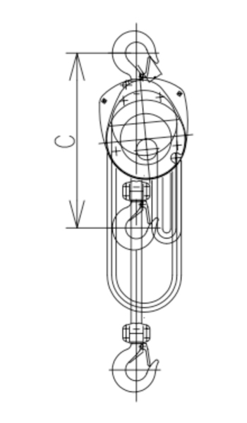
Ručna lančana dizalica (referenca)
Nosivost (kg) C (mm) Težina (kg)
250 290 4
500 350 9
1000 380 12
2000 460 19
3000 570 27
5000 700 43

Električna dizalica (referenca)
Nosivost (kg) C (mm) Brzina dizanja (m/min) Težina (kg)
250 410 8/2 24
500 490 8/2 31
1000 430 4/1 35
2000 615 4/1 65
3000 730 4/1 140
5000 760 4/1 150

Dodatna oprema po izboru

Za tip SRG
Serijski broj Ime Slika
SRG0006 Vitlo 0,5t
SRG1006 1t vitlo
SRG0007
SRG1007
Čvrsta podrška
SRG0008
SRG1008
Fleksibilna podrška
SRG1010 tip PRG1
SRG0016
SRG1016
Traka za vezivanje

Za tip SG
Serijski broj Ime Slika
SG 2006
SG 3006
SG 5006
Odvojiva kolica
SG 2008
SG 3008
SG 5008
Kolica s patentnim zatvaračem
SG 0002 Razvod struje kolica
SG 2010
SG 3010
SG 5010
Potporne noge
SG 2012
SG 3012
SG 5012
Pomoćni kotačići
SG 2016
SG 3016
SG 5016
Vrsta monocikla
Zhejiang Shuangniao Lifting Equipment Co., Ltd. je tvrtka za specijalnu opremu specijalizirana za istraživanje i razvoj, proizvodnju, marketing i postprodajne usluge električnih dizalica sa žičanom užadi. Od svog osnutka, tvrtka je veliku važnost pridavala razvoju novih proizvoda i tehnološkim inovacijama, te se fokusirala na visoke početne točke i visoke konfiguracije. U istraživanju i razvoju električnih dizalica, dok kontinuirano uvodi stranu naprednu tehnologiju, aktivno razvija istraživanje i razvoj novih električnih dizalica u europskom stilu i uspostavlja temeljni koncept "inovacija vodi budućnost, fokus na postizanje prekrasnih", koji je postao lopatica razvoja domaćih električnih dizalica i vodi razvoj domaće industrije električnih dizalica.
[#unos#]
O nama
Zhejiang Shuangniao Lifting Equipment Co., Ltd.
Zhejiang Shuangniao Lifting Equipment Co., Ltd.

Zhejiang Shuangniao Lifting Equipment Co., Ltd. je tvrtka za specijalnu opremu specijalizirana za istraživanje i razvoj, proizvodnju, marketing i postprodajne usluge električnih dizalica sa žičanom užadi. Od svog osnutka, tvrtka je veliku važnost pridavala razvoju novih proizvoda i tehnološkim inovacijama, te se fokusirala na visoke početne točke i visoke konfiguracije. U istraživanju i razvoju električnih dizalica, dok kontinuirano uvodi stranu naprednu tehnologiju, aktivno razvija istraživanje i razvoj novih električnih dizalica u europskom stilu i uspostavlja temeljni koncept "inovacija vodi budućnost, fokus na postizanje prekrasnih", koji je postao lopatica razvoja domaćih električnih dizalica i vodi razvoj domaće industrije električnih dizalica.

Vijesti